CẢO THỦY LỰC SKF TMHP 15/260 | SKF HYDRAULIC PULLER TMHP 15/260 | 17 tấn | 386 mm

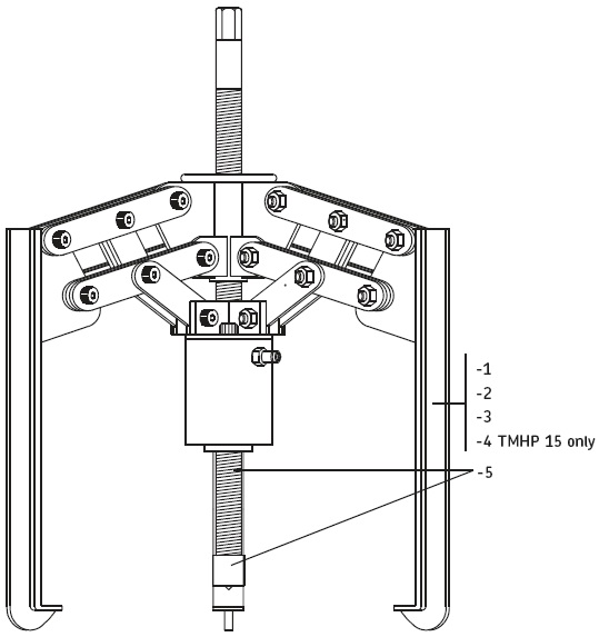
- Cảo thủy lực SKF TMHP 15/260, SKF hydraulic puller TMHP 15/260: là loại cảo thủy lực dời bơm, tự định tâm, với sức móc đẩy max: 17 tấn, độ mở (spread): 195 - 386 mm, chiều sâu họng max (reach): 264 mm, chuyên dùng để tháo/lắp vòng bi, bạc đạn, puly, bánh đà trong công nghiệp.
- Cảo thủy lực SKF TMHP 15/260 là loại cảo thủy lực dời bơm, kết nối với bơm tay, điện, khí nén thủy lực (tùy chọn) thông qua ống dây, áp kế, phụ kiện thủy lực. Thân xilanh và trục đẩy có ren sâu, chịu tải tốt, cho phép dịch chuyển lên/xuống thuận tiện khi điều chỉnh cho phù hợp với chi tiết cần cảo. Thao tác đẩy (advance) / hồi (return) của xylanh cảo thông qua valve điều khiển của bơm thủy lực. Hành trình max của xylanh (kích thủy lực rỗng tâm) cảo: 100 mm. Kích thủy lực rỗng tâm, bơm tay thủy lực SKF TMJL 100 thuộc loại hàng < 800 bar, do Rehobot/Sweden sản xuất.
- Ngoài chân cảo ngắn, đang lắp tiêu chuẩn TMHP 15-1 dài 264 mm. Khách hàng thêm các lựa chọn lắp chân cảo dài: TMHP 15-2 (344 mm), TMHP 15-3 (439 mm), TMHP 15-4 (689 mm).
- Cảo thủy lực SKF TMHP 15/260 được trang bị loại vai cảo 3 chấu: chỉ có 3 vị trí lắp chân cảo, lắp được cảo 3 chấu. Kết hợp với cơ cấu kẹp, thanh rằng bắt bulong đai ốc phức tạp tăng độ ôm giữ của cảo.
- Cơ cấu tự định tâm (lắp thêm 1 vai cảo và các thanh gá phụ) giúp cảo thủy lực SKF TMHP 15/260 định tâm nhanh chóng, thuận tiện khi thao tác.
- Các chân cảo thủy lực SKF TMHP 15/260 được chế tạo bằng thép đen, theo phương pháp dập nguội, có nhiều gân tăng cứng, đảm bảo độ bền kéo trong quá trình gia tải.
- Bộ cảo thủy lực SKF TMHP 15/260 được sản xuất và chế tạo bởi Tập đoàn SKF, tập đoàn lớn nhất thế giới về sản xuất vòng bi, bạc đạn.
- Nhận sửa chữa, phục chế cảo thủy lực, kích thủy lực, bơm thủy lực và cung cấp phụ kiện đầy đủ (gioăng phớt, lò xo, valve) của SKF và các hãng khác. Nhận cung cấp dịch vụ kiểm định test áp lực bơm tại các trung tâm kiểm định của Nhà nước và tư nhân, để nhanh chóng đưa cảo, xylanh, kích và bơm thủy lực vào sử dụng tới khách hàng.
- Cung cấp các loại bơm tay thủy lực, bơm khí nén thủy lực, bơm điện thủy lực (220V/1ph, 380V/3ph hoặc chống cháy nổ) của nhiều hãng, phù hợp và chạy tốt khi sử dụng cảo thủy lực SKF TMHP 15/260.
- DKV VIET NAM nhận cung cấp ống dây thủy lực (vật liệu cao su hoặc nylon gia cường) với độ dài bất kỳ (4m, 6m, 8m, 10m, 15m, 20m, 50m...), chuyển đổi coupler sang các kiểu khác, để phù hợp với chuẩn Osaka, Enerpac, Power Team, Betex, Holmatro, Riken, Larzep, Rehobot, Simplex, Tecpos, Tonners... mà khách hàng đang sử dụng.
- DKV VIET NAM cung cấp các loại tools thủy lực cao áp, bơm thủy lực cao áp: 150 MPA, 160 MPa, 200 MPa, 250 MPa, 280 MPa, 300 MPa, 350 MPa và 400 Mpa để thỏa mãn nhu cầu khách dùng hàng cao áp.
- Ngoài cung cấp bộ cảo thủy lực SKF TMHP 15/260 và các sản phẩm tiêu chuẩn luôn có sẵn, chúng tôi còn có sẵn các cảo thủy lực tiêu chuẩn chất lượng cao của Osaka/Japan, Kukko/Germany, Tonners/Korea, Orione/India hoặc giá rẻ của DKV HYDRAULIC để thỏa mãn sự lựa chọn thêm của khách hàng, phù hợp với tiêu chí của khách hàng đặt ra (tham khảo tại: www.osaka-jack.com.vn và www.dkv-hydraulic.com).
- Giao hàng và service bộ cảo thủy lực SKF TMHP 15/260 toàn quốc cho mọi khách hàng, hãy liên hệ với chúng tôi tại các văn phòng gần nhất, để được phục vụ.
-
Thông tin sản phẩm niêm yết chính thức tại hãng SKF.

-
Catalogue, thông số kỹ thuật sản phẩm chi tiết tại đây.







THÔNG TIN HỖ TRỢ:
- Xuất xứ: SKF/Sweden (Made in Sweden).
- CO do phòng Thương mại Thụy Điển cấp (bản photo copy).
- CQ do nhà sản xuất SKF/Sweden cấp.
- Bảo hành: 12 tháng (theo tiêu chuẩn nhà sản xuất).
- Quy cách đóng gói: hộp carton.
- Thời gian giao hàng: 1 - 2 ngày (đối với hàng có sẵn tại Việt nam) , 15 - 45 ngày (đối với hàng không có tại Việt nam, tùy thời điểm đặt hàng). Giao hàng toàn quốc.

- Đơn giá: vui lòng liên hệ với chúng tôi để biết chi tiết.
- Xuất xứ: SKF/Sweden.
- CO, CQ do nhà sản xuất SKF/Sweden cấp.
- Bảo hành: 12 tháng.
- Thời gian giao hàng đối với hàng có sẵn trong kho: 1-2 ngày, hàng không có trong kho tại Việt nam: 10-30 ngày(tùy thời điểm đặt hàng).
- Giao hàng : toàn quốc.Điều khoản giao hàng vui lòng liên hệ với chúng tôi hoặc xem CHÍNH SÁCH BÁN HÀNG phía dưới website.































