CẢO THỦY LỰC TECPOS TPUL-20 | TECPOS HYDRAULIC PULLER TPUL-20 | 20 tấn | 400 mm


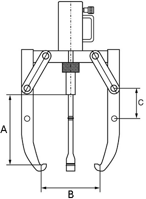
- Cảo thủy lực Tecpos TPUL-20, Tecpos hydraulic puller TPUL-20: là loại cảo thủy lực dời bơm, cỡ nhỏ, với sức móc đẩy max: 20 tấn, độ mở max (B): 400 mm, chiều sau họng (A): 280 mm, chuyên dùng để tháo lắp: vòng bi, bạc đạn, puli, bánh đà..trong công nghiệp.
- Cảo thủy lực Tecpos TPUL-20 có sự chuyển đổi từ cảo 3 chấu sang 2 chấu nhanh chóng, đơn giản bởi có vai cảo đi kèm, dùng để lắp cảo 2 chấu, chuyển đổi từ cảo 3 chấu sang 2 chấu 1 cách dễ dàng.
- Cảo thủy lực Tecpos TPUL-20 có chân cảo có 2 vị trí để xỏ bulong, giúp điều chỉnh phù hợp chiều sâu họng với tùy từng chi tiết cần cảo có chiều cao chống tâm dài ngắn khác nhau.
- Cảo thủy lực Tecpos TPUL-20 là loại cảo thủy lực dời bơm, sử dụng khi đấu nối với bơm tay thủy lực đi kèm, thông qua ống dây thủy lực, có thể gắn áp kế (full 1 bộ).
- Được chế tạo từ thép cường lực chất lượng cao, có độ dai va đập tốt, tuổi thọ daì lâu, hình thức mẫu mã đẹp mắt.
- Cảo thủy lực Tecpos TPUL-20 có trọng lượng: 30.5 kg, được sản xuất bởi Daejin Hydraulic - Busan - Korea. Made in Korea. DKV VIET NAM Co.,Ltd nhập khẩu , phân phối và service tại Việt nam, đi kèm CO Phòng thương mại Hàn Quốc.
- Nhận sửa chữa, phục chế cảo thủy lực, kích thủy lực, bơm thủy lực và cung cấp phụ kiện đầy đủ (gioăng phớt, lò xo, valve) của Tecpos và các hãng khác. Nhận cung cấp dịch vụ kiểm định test áp lực sức móc của cảo thủy lực Tecpos TPUL-20 tại các trung tâm kiểm định của Nhà nước và tư nhân, để nhanh chóng đưa cảo, xylanh, kích và bơm thủy lực Tecpos TPUL-20 vào sử dụng tới khách hàng.
- Cung cấp các loại bơm tay thủy lực, bơm khí nén thủy lực, bơm điện thủy lực (220V/1ph, 380V/3ph hoặc chống cháy nổ) của nhiều hãng, phù hợp và chạy tốt khi sử dụng cảo thủy lực Tecpos TPUL-20.
- DKV VIET NAM nhận cung cấp ống dây thủy lực (vật liệu cao su hoặc nylon gia cường) với độ dài bất kỳ (4m, 6m, 8m, 10m, 15m, 20m, 50m...), chuyển đổi coupler sang các kiểu khác, để phù hợp với chuẩn Osaka, Enerpac, Power Team, Betex, Holmatro, Riken, Larzep, Rehobot, Simplex, Tecpos, Tonners... mà khách hàng đang sử dụng.
- DKV VIET NAM cung cấp các loại tools thủy lực cao áp, bơm thủy lực cao áp: 150 MPA, 160 MPa, 200 MPa, 250 MPa, 280 MPa, 300 MPa, 350 MPa và 400 Mpa để thỏa mãn nhu cầu khách dùng hàng cao áp.
- Ngoài cung cấp cảo thủy lực Tecpos TPUL-20 và các sản phẩm tiêu chuẩn luôn có sẵn, chúng tôi còn có sẵn các cảo thủy lực tiêu chuẩn chất lượng cao hơn của Osaka/Japan, Kukko/Germany, Omarstar/Taiwan, Orione/India để thỏa mãn sự lựa chọn thêm của khách hàng, phù hợp với tiêu chí của khách hàng đặt ra (tham khảo tại: www.osaka-jack.com.vn và www.dkv-hydraulic.com).
- Giao hàng và service cảo thủy lực Tecpos TPUL-20 toàn quốc cho mọi khách hàng, hãy liên hệ với chúng tôi tại các văn phòng gần nhất, để được phục vụ.
-
Thông tin sản phẩm niêm yết chính thức tại hãng Tecpos.

-
Catalogue, thông số kỹ thuật sản phẩm chi tiết xem tại








THÔNG TIN CHUNG:
- Xuất xứ: Daejin Hydraulic (Tecpos)/Korea.
- CO do phòng Thương mại Hàn Quốc cấp (bản photo copy).
- CQ do nhà sản xuất Tecpos cấp.
- Bảo hành: 12 tháng (theo tiêu chuẩn nhà sản xuất).
- Quy cách đóng gói: hộp carton.

- Đơn giá bơm thủy lực: vui lòng liên hệ với chúng tôi để biết chi tiết.
- Xuất xứ: Daejin Hydraulic (Tecpos)/Korea.
- CO, CQ do nhà sản xuất Tecpos/Korea cấp.
- Bảo hành: 12 tháng.
- Quy cách đóng gói: hộp carton.
- Thời gian giao hàng đối với hàng có trong kho tại Việt nam: 2-3 ngày, đối với hàng không có trong kho tại Việt Nam: 10-30 ngày(tùy thời điểm đặt hàng).
- Giao hàng : toàn quốc.Điều khoản giao hàng vui lòng liên hệ với chúng tôi hoặc xem CHÍNH SÁCH BÁN HÀNG phía dưới website.





























